BMW patenta tornillos en forma de su emblema

Por: Volodymyr Kolominov | 22.12.2025, 20:43
IA convirtió patente en imagen: nuevas posibilidades en la visualización de ideas Imagen creada utilizando IA basada en dibujo de patente. Fuente: AI

BMW presentó una solicitud de patente ante la OMPI (Organización Mundial de la Propiedad Intelectual) para tornillos con cabezas diseñadas a semejanza del logotipo de la empresa.

Lo que se sabe

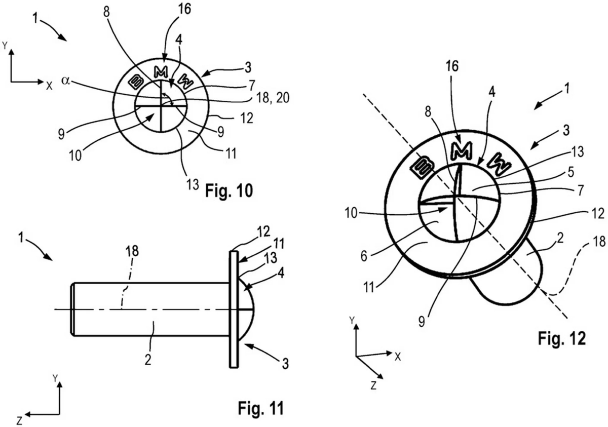
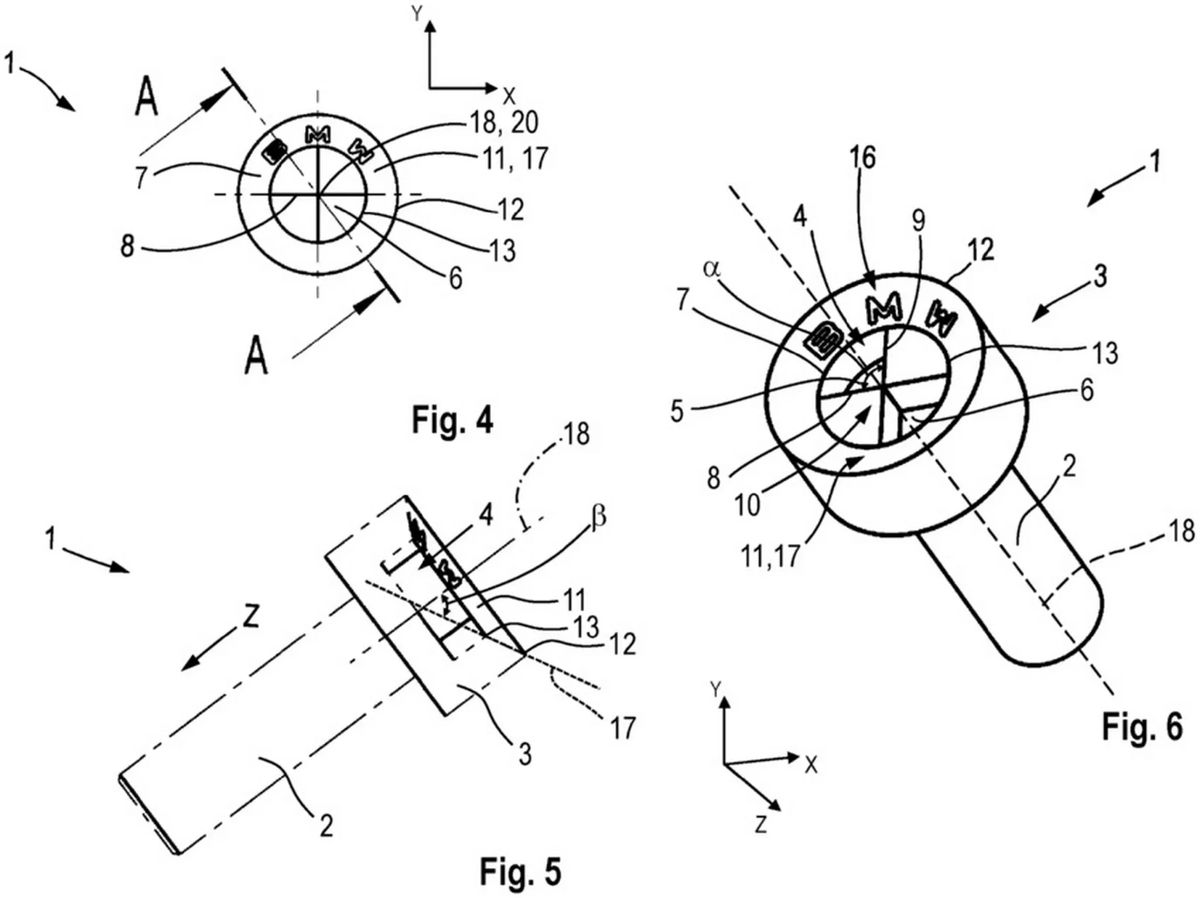
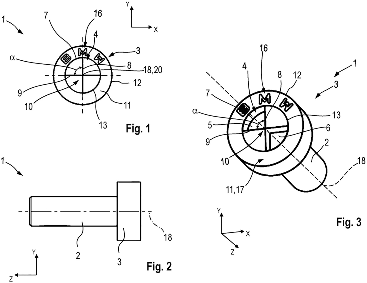
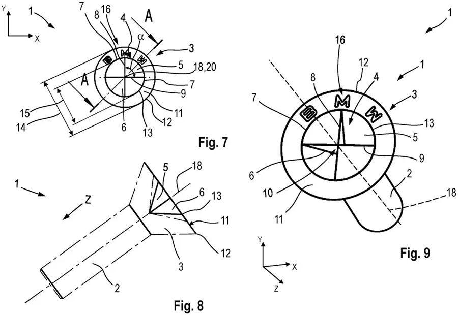
La patente describe cuatro tipos de cabezas, incluyendo planas y redondeadas. Cada una refleja la forma del emblema de BMW, dividido en cuatro sectores. Dos sectores están hundidos, mientras que los otros son planos o salientes.

A primera vista, las cabezas de tornillo de marca se ven interesantes, especialmente si se utilizan en partes visibles de los automóviles. Pero para los mecánicos o propietarios con kits de herramientas estándar, son mucho menos atractivas. Las formas de tornillo inusuales significan que las herramientas ordinarias no encajarán, y cualquiera que quiera acceder a componentes clave podría necesitar equipamiento especial de BMW.

No es difícil imaginar el dolor de cabeza que esto podría causar en los talleres. Los kits estándar no harán frente, y a menos que seas un concesionario de BMW o un entusiasta dedicado, es probable que te falte un destornillador para una reparación completa.

Sin embargo, si estos tornillos entrarán en producción es una pregunta abierta. Los fabricantes de automóviles presentan muchas patentes que nunca pasan del tablero de dibujo. Estos dibujos específicos fueron presentados el 7 de junio de 2024 y publicados el 11 de diciembre de 2025. Pero por ahora, siguen siendo solo dibujos.

Fuente: Autoblog